ERP系統(tǒng) & MES 生產管理系統(tǒng)
10萬用戶實施案例,ERP 系統(tǒng)實現微信、銷售、庫存、生產、財務、人資、辦公等一體化管理
一、客户背景
江阴某管业有限公司是一家生产管件、法兰与焊接钢管的专业公司,产品广泛地应用在石油、化工、电力、核电、造船、机械核工业、军工业等各个领域,规模大概300人左右。

二、客户痛点
1、因为各部门信息的断层,没有很好地沟通,经常生产部门把订单信息弄错,发生订单遗漏和遗留的事情。遗漏还能再加工,可是多加工就会浪费。而且严重影响交付期,客户催货多次才能交付。
2、之前他们公司的生产进度都是写在一个小黑板上,有时候忘记写上,订单的跟踪非常困难,生产进度信息不同步、无法实时更新,这也是他们头痛的事。
3、工人的工作记录之前都是写在纸上面,容易丢失,也不容易保存和翻阅。人事需要对员工的生产数据进行统计,以此给出薪资绩效。
4、之前工人的产量、设备、工艺报工都是手动录入,费时不说,更新还不及时,管理起来乱糟糟。
三、培训时间表
2018.12.15 安装系统(MES速易天工V3),并将软件的操作流程和客户软件负责人讲述和沟通了,并指导录入基础资料
2018.12.17 指导模拟操作流程,召开MES会议,讲了一遍操作流程,并回答了员工提出的问题(软件操作人员参加),发送了手机APP给车间负责人
2018.12.18 操作了模拟单
硬件配置:
服务器:DELL T130 1T硬盘 8G内存
标签打印机
江阴某管业是典型的加工行业,工序较多。项目有专人负责,安装好系统后,和项目负责人沟通了下,培训了流程操作,并且把手机扫码APP安装后测试了一下。
四、实施效果

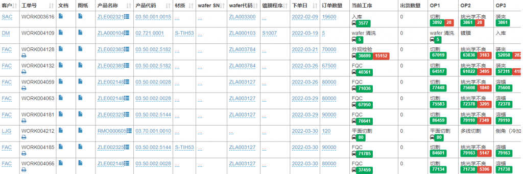
1、引入了速易天工V3生产管理系统,专人负责订单事宜。客户给到订单,订单数据导入到excel下单,这样每个订单的数据都可以直观展示。需要加工多少零件,多少在加工中,还剩多少零件没加工,……一目了然,避免出现订单遗留或多加工的事情。

2、通过引入了速易天工V3在产管理功能+APP扫码报工。通过员工的手机,扫码系统自动生成二维码,读取生产订单信息,报工合格、报废、返修数量,提交到系统。实时显示在产管理表,管理层在电脑、手机、IPAD上可以直接查询加工进度,支持电子看板模式,放在会议室或者车间,这样客户和催单员就能实时查看进度,不再出现交付期延迟的情况。

3、我们安装了速易天工V3统计功能+生产日报表+员工生产报表来解决员工绩效考核问题。在产管理表里有个统计-报工记录,这里记录所有报工记录,随时可以查询某个订单的所有记录,包括加工者、加工设备、工序、时间等都可以查到。


系统安装后,员工绩效考核有数据、有依据。公平、透明也提高员工积极性。
4、车间员工通过手机扫码报工代替手工填写,采集数据更加方便。而且报工实时更新生产进度到生产进度表,通过APP可以查询,手机即可查看生产状况。



咨詢顧問